刷眼支付要来了?
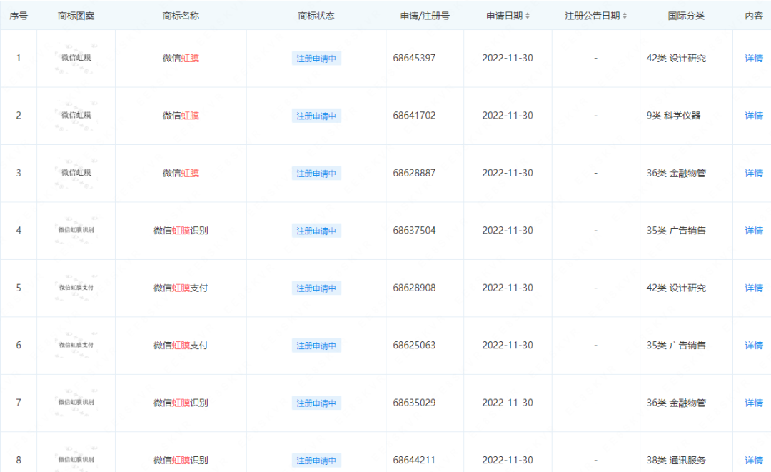
1月4日消息,从企查查获悉,近日腾讯科技(深圳)有限公司申请注册多枚“微信虹膜支付”“微信虹膜”“微信虹膜识别”商标, 国际分类涉及通讯服务、金融物管、网站服务等,当前商标状态均为等待实质审查。

据了解,移动支付中生物识别技术主要包括指纹、人脸、声波、虹膜、静脉等。
虹膜是位于人眼表面黑色瞳孔和白色巩膜之间的圆环状区域, 具有唯一性、稳定性、非接触性等诸多优势。
虹膜识别技术通过对比虹膜纹理特征之间的相似性,可有效确定人们的身份,是目前世界上最精准、最安全的生物识别技术之一,其准确性和稳定性远超过指纹扫描和人脸识别。
而虹膜支付此前曾有媒体报道将出现在苹果AR眼镜中。2022年10月,据The Information消息,苹果AR眼镜将支持消费者使用虹膜扫描进行登录和支付。据悉,苹果曾在2017年收购眼球追踪眼镜制造商SensoMotorics,并计划将这一技术运用到AR/MR头盔上。
值得一提的是,2022年10月,微信上线“微信刷掌支付”小程序,相关服务需在刷掌设备上开通。当时微信支付已在深圳部分商家接入刷掌支付设备进行测试,用户可以通过刷掌纹支付订单。
添加POS之家客服微信(8059721)咨询POS机相关问题。
POS之家:专注一清机办理,售后,维护,终身质保。拥有完善的售后服务及强大的技术团队支持,为您的资金安全保驾护航!

