又有两家支付公司陷入巨额债务问题...一家被执行超8亿

易极付被执行标的超8亿
日前,中国执行信息公开网披露,持牌支付机构重庆易极付科技有限公司产生多条被执行信息,执行标的总金额超8亿元。

案号“(2021)津02执恢198号”显示,被执行人为重庆易极付科技有限公司,执行法院为天津市第二中级人民法院,立案时间为2021年10月08日,执行标的773493680元。
案号“(2021)渝0112执16964号”,执行法院为重庆市渝北区人民法院,立案时间为2021年09月10日,执行标的11349502元。
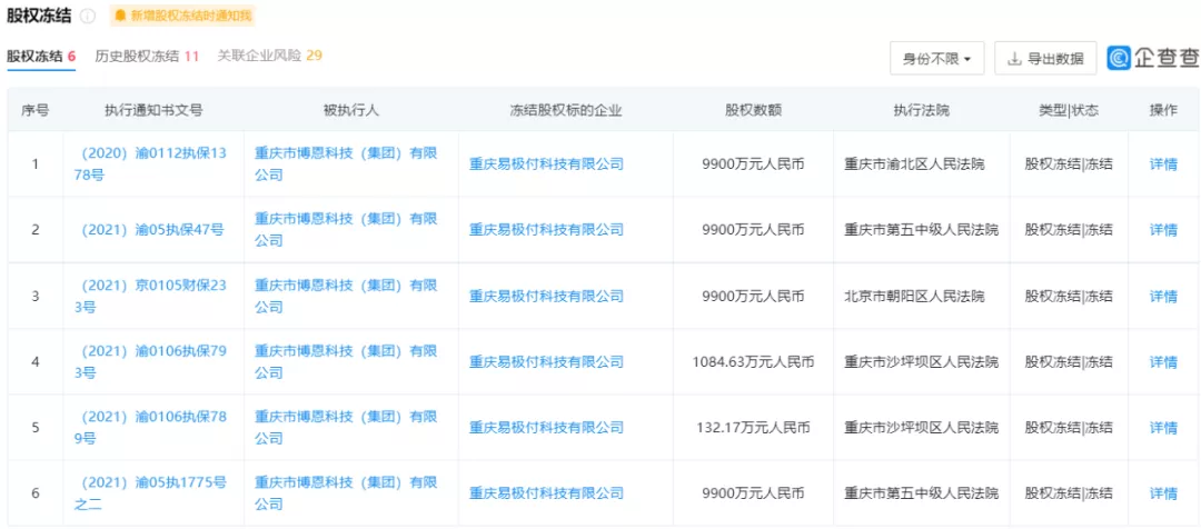
案号“(2021)渝05执1775号“,执行法院为重庆市第五中级人民法院,立案时间为2021年07月15日,执行标的42221150元。

除成为被执行人外,易极付控股股东重庆市博恩科技(集团)有限公司今年以来也先后多次被法院列入被执行人。

据了解,被执行人是指生效裁判文书的义务人,没有自动履行生效裁判文书的,然后司法机关强制他履行相应的义务。根据《最高人民法院关于公布失信被执行人名单信息的若干规定》,被执行人具有履行能力而不履行生效法律文书确定的义务,人民法院应当将其纳入失信被执行人名单,依法对其进行信用惩戒。
重庆易极付科技有限公司成立于2011年7月,注册资金1亿元人民币,系博恩集团旗下专业支付公司。
2011年12月,易极付获得由中国人民银行颁发的《支付业务许可证》,成为可在全国开展业务的互联网支付公司。2016年成功完成支付牌照续展,有效期延至2021年12月21日。
中汇支付未履行金额2.81亿元
日前,中汇支付因领到1399万元的大罚单而被市场广泛关注。事实上,在这张罚单落定之前,中汇支付还有一个标签——“失信被执行人”。

就在9月15日,中国执行信息公开网显示,中汇支付再一次被列为失信被执行人,原因是“有履行能力而拒不履行生效法律文书确定义务”。
具体来看,中汇支付、江门银通投资有限公司、张波克应对廖洪龙应退赔原告江门市酌美装饰工程有限公司款项6万元及利息承担连带清偿责任,如果未按判决指定期间履行给付金钱义务,应当依照《中华人民共和国民事诉讼法》第二百五十三条的规定,加倍支付迟延履行期间的债务利息。但对于上述义务,中汇支付全部未履行.
这对中汇支付来说已经不是第一次。统计发现,今年以来,除了因为“有履行能力而拒不履行生效法律文书确定义务”这一情形被列为失信被执行人外,中汇支付还因为“违反财产报告制度”被列为失信被执行人10次。
翻看历史失信记录,中汇支付2020年共16次被列为失信被执行人,包括“有履行能力而拒不履行生效法律文书确定义务”情形8次,以及“违反财产报告制度”情形8次。

在中汇支付屡次成为失信被执行人背后,在企查查终本案件一栏发现,截至2021年10月12日,中汇支付的累计执行标的总金额2.89亿元,其中未履行金额2.81亿元,未履行比例达97.22%。
添加POS之家客服微信(8059721)咨询办理POS机。
POS之家:专注一清机办理,售后,维护,终身质保。拥有完善的售后服务及强大的技术团队支持,为您的资金安全保驾护航!

