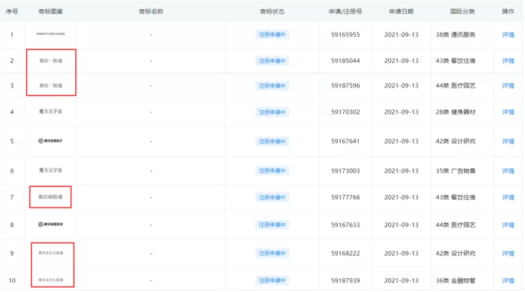
腾讯申请微信支付刷脸通商标!

近日,腾讯科技(深圳)有限公司申请注册多个“微信支付刷脸通”“微信人脸通”“微信一脸通”等相关商标,国际分类涉及金融物管、广告销售等,当前商标状态多为申请中。


添加POS之家客服微信(8059721)咨询办理POS机。
POS之家:专注一清机办理,售后,维护,终身质保。拥有完善的售后服务及强大的技术团队支持,为您的资金安全保驾护航!
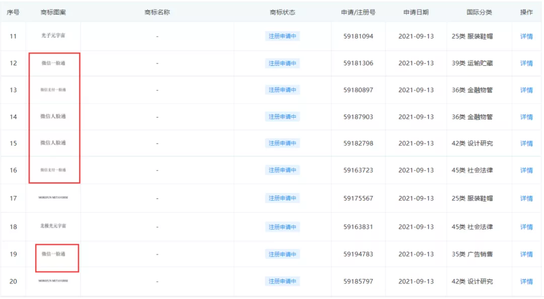
腾讯申请微信支付刷脸通商标!

近日,腾讯科技(深圳)有限公司申请注册多个“微信支付刷脸通”“微信人脸通”“微信一脸通”等相关商标,国际分类涉及金融物管、广告销售等,当前商标状态多为申请中。


添加POS之家客服微信(8059721)咨询办理POS机。
POS之家:专注一清机办理,售后,维护,终身质保。拥有完善的售后服务及强大的技术团队支持,为您的资金安全保驾护航!